Portfolio
Albums
A socket engageable with a drive assembly is disclosed, the socket having two segments pivotably connected with each having an engageable periphery for rotation of the socket by the drive assembly and together defining a center bore for engaging a work piece, the segments being self locking when the work piece is engaged. The drive assembly has a selectively accessible slot for receiving and holding the socket in the operative position, a mating drive gear for the rotation of the socket and a guide for assuring lateral and rotational stability of the socket.
11 Photos
A device for manipulating threaded connectors is disclosed, the device being particularly well suited for manipulating line fittings. The device includes a housing, a socket, a compact drive transfer assembly, and a mechanism for selectively locating the socket relative to the housing. The socket has a split side wall defining a gap and the housing has a gap at one part thereof, together to facilitate passage of the line into the socket for engagement of the fitting. The locating mechanism is actuatable by a user of the device to achieve correspondence of the gaps for engagement and/or disengagement of the device from the line.
20 Photos
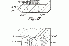
A split socket having movable fitting contacting facets and a drive transfer assembly are disclosed which are particularly well suited for manipulating line fittings. The split socket preferably includes first and second movable dogs pivot-ably mounted at opposite surfaces of an opening in a rotatable socket. The socket opening is at least as wide as the point-to-point diameter of the fitting to be received thereat. Each ofthe dogs has a facet configured for engaging and thereby, in conjunction with one another, rotating the fitting when the socket is rotated in a first direction, the dogs being movable by the fitting away ITom engagement when the socket is rotated in the opposite direction, thus allowing rotation of the socket in the opposite direction while the fitting remains substantially still. The drive transfer assembly includes a housing and drive gear or gear train, the housing being configured to admit the fitting to the socket opening directly there through and to assure proper orientation of the fitting, once admitted, relative to the socket.
15 Photos
A mechanism for cooling and accommodating user selected relative positioning of a device for manipulating threaded connectors and a drive powering the device is disclosed. The device includes a housing with a socket and a drive transfer assembly maintained therein. The mechanism includes first and second relatively rotatable coupling rings each at a different one of the housing of the device and the drive unit. Cooperative locating and securing structures are associated with each of the rings, one of the structures having apertures indexed around a circumference thereof for engagement by the other of the structures in selected ones thereof.
12 Photos
A mechanism for cooling and accommodating user selected relative positioning of a device for manipulating threaded connectors and a drive powering the device is disclosed. The device includes a housing with a socket and a drive transfer assembly maintained therein. The mechanism includes first and second relatively rotatable coupling rings each at a different one of the housing of the device and the drive unit. Cooperative locating and securing structures are associated with each of the rings, one of the structures having apertures indexed around a circumference thereof for engagement by the other of the structures in selected ones thereof.
13 Photos
A device for manipulating threaded connectors is disclosed, the device being particularly well suited for manipulating line fittings. The device includes a housing, a socket, a compact drive transfer assembly, and a mechanism for selectively locating the socket relative to the housing. The socket has a split side wall defining a gap and the housing has a gap at one part thereof, together to facilitate passage of the line into the socket for engagement of the fitting. The locating mechanism is actuatable by a user of the device to achieve correspondence of the gaps for engagement and/or disengagement of the device from the line.
15 Photos





